Guilford County North Carolina
Home   County Home   Tax Dept Home   Tax Bills   Maps   Tax Rates

Guilford County Real Property Data          

Building Summary

Data last updated on: 4/3/2026     Ownership current as of: 4/2/2026     Tax Year: 2026
REID 44873

PIN # 7866-45-9513

Location Address Property Description
3300 N ELM ST CAMBRIDGE APARTMENTS/N ELM ST LO:59-6264-66 SE:3 PL:17-93
   
Property Owner Owner's Mailing Address
3300 N ELM STREET LLC
1315 S MAIN ST
WINSTON SALEM NC 27127
Parcel
Buildings
Misc Improvements
Land
Income
Deeds
Notes
Sales
Photos
Tax Bill
Map
Building Location Address
3300 N ELM ST
Card   of  3        Section   of  1
Building Details

Building Name CAMBRIDGE APARTMENTS
Primary Occupancy Type Residence and Motel
Primary Occupancy 12-352-Multiple Res
Primary Class C
Primary Quality Above Average
Year Built 1969
Effective Year 1991
Physical Depreciation (Rating) MSVPO - COMM ONLY
Physical Depreciation (% Bad) 36.00%
Economic Depreciation (% Bad) 0%
Functional Depreciation (% Bad) 0%
Gross Leasable Area (SQFT) 8976
Remodeled Year
Total Stories 2

Section Details

Occupancy Type Residence and Motel


Heat 614-Heat Pump
Interior Finish DRYWALL/SHEETROCK
Occupancy 12-352-Multiple Res
Quality Above Average
Sprinkler No Sprinklers
Exterior Walls 887-Stud -Hardboard
Air Conditioning CENTRAL
FIXTURES 36
Class C
Depreciation 36%
Depreciation MSVPO - COMM ONLY
Building Total & Improvement Details

Total Adjusted Replacement Cost New $1,090,748
Physical Depreciation (% Bad) 36.00%
Depreciated Value $698,078
Economic Depreciation (% Bad) 0%
Functional Depreciation (% Bad) 0%
Total Depreciated Value $698,078
Market Area Factor 1.00
Building Value $698,100
Misc Improvements Value $800
Total Improvement Value $698,900

Assessed Land Value $628,400
   
Assessed Total Value $2,134,215


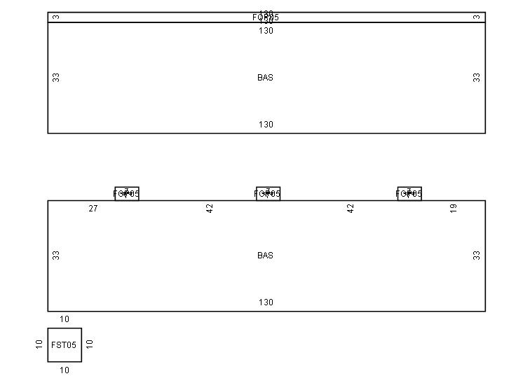
Addition Summary 
StoryTypeCodeArea
1.00 Porch, Open Fin FOP0 390
1.00 Porch, Open Fin FOP0 28
1.00 Porch, Open Fin FOP0 28
1.00 Porch, Open Fin FOP0 28
1.00 Storage, Fin FST0 396
 
Other Improvements 
UnitsDescriptionItemCodeYear% BadValue
20000 UNITS PAVING ASP 2001 88 800
 


Building Sketch
Photograph
Building Sketch Photo is unavailable for this parcel.
(Click sketch for bigger image)





Per North Carolina General Statute 105-285-287 (d), all real property in North Carolina is subject to listing and valuation annually as it exists on January 1. Real Property assessments are based on market values as of the date of the last countywide reappraisal in 2026.

Prints best in landscape mode