Guilford County North Carolina
Home   County Home   Tax Dept Home   Tax Bills   Maps   Tax Rates

Guilford County Real Property Data          

Building Summary

Data last updated on: 4/23/2026     Ownership current as of: 4/22/2026     Tax Year: 2026
REID 51

PIN # 7864-65-5624

Location Address Property Description
219 S ELM ST PIZZERIA L'ITALIANO/S ELM ST
   
Property Owner Owner's Mailing Address
BEYOND SKY HOSPITALITY INC
27 CARLSON TER
GREENSBORO NC 27410
Parcel
Buildings
Misc Improvements
Land
Deeds
Notes
Sales
Photos
Tax Bill
Map
Building Location Address
219 S ELM ST
Card   of  1        Section   of  2
Building Details

Building Name PIZZERIA L'ITALIANO
Primary Occupancy Type Stores and Commerci
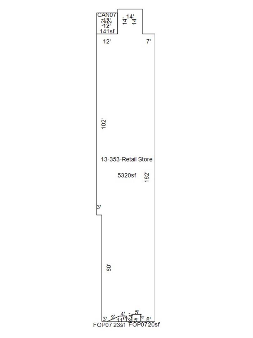
Primary Occupancy 13-353-Retail Store
Primary Class C
Primary Quality Average
Year Built 1945
Effective Year 2005
Physical Depreciation (Rating) MSVPO - COMM ONLY
Physical Depreciation (% Bad) 25.00%
Economic Depreciation (% Bad) 0%
Functional Depreciation (% Bad) 0%
Gross Leasable Area (SQFT) 10270
Remodeled Year
Total Stories 1

Section Details

Occupancy Type Stores and Commerci


Air Conditioning CENTRAL
FIXTURES 12
Class C
Depreciation 25%
Depreciation MSVPO - COMM ONLY
Heat 3-Default Heating
Interior Finish DRYWALL/SHEETROCK
Interior Finish PLASTER
Occupancy 13-353-Retail Store
Quality Average
Sprinkler No Sprinklers
Exterior Walls 2-Default Wall
Building Total & Improvement Details

Total Adjusted Replacement Cost New $911,235
Physical Depreciation (% Bad) 25.00%
Depreciated Value $683,427
Economic Depreciation (% Bad) 0%
Functional Depreciation (% Bad) 0%
Total Depreciated Value $683,427
Market Area Factor 1.00
Building Value $683,400
Misc Improvements Value
Total Improvement Value $683,400

Assessed Land Value $197,900
   
Assessed Total Value $881,300


Addition Summary 
StoryTypeCodeArea
1.00 Canopy CAN0 141
1.00 Porch, Open Fin FOP0 20
1.00 Porch, Open Fin FOP0 22
 
Other Improvements 
 


Building Sketch
Photograph
Building Sketch Building Photo
(Click sketch for bigger image)





Per North Carolina General Statute 105-285-287 (d), all real property in North Carolina is subject to listing and valuation annually as it exists on January 1. Real Property assessments are based on market values as of the date of the last countywide reappraisal in 2026.

Prints best in landscape mode